T12系列防爆型温度传感器
概述:T12系列是采用进口薄膜芯片封装,T12系列防爆型温度传感器用来测量气体、液体、固体等温度传感器。
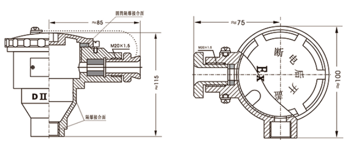
产品特点
■多种防爆形式,防爆性能好;
■压簧式感温元件,抗振性能好;
■测量范围大;
■机械强度高,耐压性能好;
产品参数
| 测量介质: | 气体、液体、固体 |
| 输入信号: | PT100 |
| 测量量程: | -20-105℃ |
| 供电电压: | 10~100VDC |
| 输出信号: | 4-20mA、(1-5V、0-5V) |
| 测量精度: | 0.2% |
| 环境温度: | 15-35℃ 相对湿度<80% |
| 温度漂移: | ≤0.2%FS/℃ |
| 响应时间: | ≤30s |
| 稳定性能: | ±0.1%FS/年 |
| 允许误差: | ±0.3K+0.005XT |
| 防护等级: | IP65 防尘 防喷水 |
| 防爆级别: | EXd II EXia II |
| 绝缘电阻: | ≥100MΩ(250DC时) |
| 铜热电阻绝缘电阻: | ≥50MΩ·m |
| 材质: | 不锈钢304/316L |
| 型号 | 分度号 | 测温范围 | 精度等级 | 允许偏值 |
| HR-WZP | Pt100 | -200~450℃ | A级 |
±(0.15+0.002|t|) ±(0.30+0.005|t|) |
| B级 | ||||
| HR-WZ |
Cu50 Cu100 |
-50~150℃ | --- | ±(0.30+0.006|t|) |
注:t为感温元件实测温度绝对值。
防爆等级
| 类别 | 级别 | zui大试验安全间隙(MESG)mm |
| II | A | 0≤MESG |
| B | 0.5<MESG<0.9 | |
| C | MESG≤0.5 |
| 温度组别 | 允许zui高表面温度℃ |
| T1 | 450 |
| T2 | 300 |
| T3 | 200 |
| T4 | 135 |
| T5 | 100 |
| T6 | 35 |

| 系列号 | 分度号 | 精度等级 | 温度范围 | 电气定义 | 线缆规格 | 线缆材质 | 线缆颜色 | 电气连接 | 线缆长度 | 探感外径 | 探感长度 |
| L=XXmm | |||||||||||
| D=Xmm | |||||||||||
| EL=XXXXmm | |||||||||||
| U=U型端子;O=O型端子;Z=针型端子;Q=多芯连接器;(未标注:默认导体浸锡) | |||||||||||
| 1=透明白;2=红色;3=白色;4=黑色;5=蓝色;6=黄色;7=紫色;8=灰色;9=棕色;10=绿色;11=橙色 | |||||||||||
| A=FEP(PFA);G=硅橡胶;F=PTFE;P=PVC;M=玻纤高温线 | |||||||||||
| 1=0.08mm²;2=0.12mm²;3=0.20mm²;4=0.35mm²;5=0.50mm²;6=0.75mm² | |||||||||||
| T=两线制;S=三线制;F=四线制 | |||||||||||
| L=-200°C~+200°C;M=-70°C~+300°C;H=0°C~+500°C | |||||||||||
| Y=1/3B级;A=A级;B=B级 | |||||||||||
| P1=PT100;P2=PT1000;P3=PT500 | |||||||||||
| 产品系列号 | |||||||||||
億彩在线客服